Nastaveni IP kamery

Problematika administrace LAN či WIFI sítí

Moderátor: Mods_senior

rhoracek
nováček
Příspěvky: 1
Registrován: únor 12
Pohlaví: Nespecifikováno
Stav:
Offline

Nastaveni IP kamery

Příspěvekod rhoracek » 10 úno 2012 08:51

Dobrý dne,
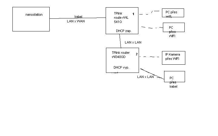
prosím o radu jak nastavit IP kameru s veřejnou adresou, v původní sití byl jedne router, nastaven virtual server na IP - kamery a fungovalo to. Nyni přidán druhý router, funguje, zařízení se připojí, ale nelze se dostat na kameru z veřejné adresy. Navím co nastavit na virtual serveru na routeru 1 a routeru 2 případně co nastavit, aby se slo dostat na kameru na routeru 2. Díky za radu. Zapojení v příloze.
sit.JPG

Reklama
Uživatelský avatar
Žbeky
Moderátor
Guru Level 13
Guru Level 13
Příspěvky: 22288
Registrován: květen 08
Bydliště: Vsetín - Pardubice
Pohlaví: Muž
Stav:
Offline

Re: Nastaveni IP kamery

Příspěvekod Žbeky » 10 úno 2012 14:46

Pokud je DHCP vypnuto, tak na druhém routeru nenastavuješ nic. Má kamera pořád stejnou IP jak předtím?
V SZ řeším jen záležitosti týkající se fóra. Na prosby a žádosti o technickou podporu nereaguji. Díky za pochopení.

HiJackThis + návod - HW Monitor - Jak označit příspěvek za vyřešený - Pravidla fóra


  • Mohlo by vás zajímat
    Odpovědi
    Zobrazení
    Poslední příspěvek
  • Nastavení PC a monitoru na hry
    od Fargotroniac » 24 dub 2025 15:57 » v Problémy s hardwarem
    9
    4536
    od Fargotroniac Zobrazit poslední příspěvek
    25 dub 2025 14:01
  • Putty na win - nastaveni pisma
    od L.L » 22 lis 2024 21:59 » v Programy ke stažení
    2
    4570
    od L.L Zobrazit poslední příspěvek
    23 lis 2024 07:50
  • Dva routery za sebou nastavení
    od jan l » 30 srp 2025 17:49 » v Administrace sítě
    19
    9732
    od jan l Zobrazit poslední příspěvek
    31 srp 2025 20:04
  • Unreal Commander - nastavení panelů
    od foto1977 » 03 úno 2025 23:01 » v Vše ostatní (sw)
    1
    5193
    od Mety Zobrazit poslední příspěvek
    15 úno 2025 09:59
  • Windows 10: obnovení počítače do továrního nastavení
    od Prorock » 13 říj 2025 21:46 » v Windows 11, 10, 8...
    3
    2271
    od petr22 Zobrazit poslední příspěvek
    14 říj 2025 07:51

Zpět na “Administrace sítě”

Kdo je online

Uživatelé prohlížející si toto fórum: Žádní registrovaní uživatelé a 18 hostů