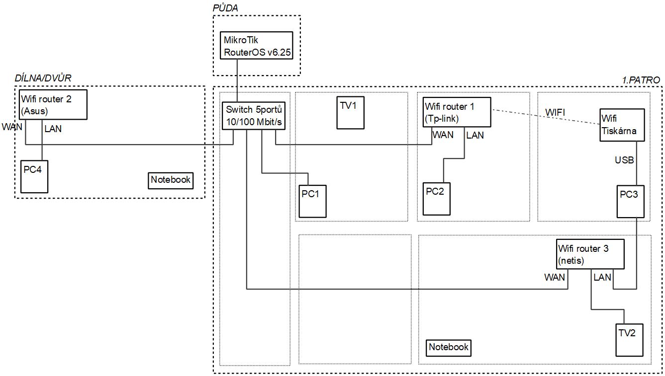
chci se zeptat jestli u takto sestavené sítě jde všechny pc a notebooky zařadit do jedné domácí skupiny(na každém zařízení jsou WINDOWS 10).Problém je, že mi routry vždy změní IP adresu. Potom bych se chtěl zeptat jestli jde udělat, aby šlo z PC1 a PC4 tisknout pomocí wifi a jak
Pak by mě zajímalo jestli by teoreticky šlo udělat, že když bude notebook připojený k wifi routru 2 nebo 3 tisknout(jestli přes ten router to dokáže dojít až k tiskárně).
Kdyby to nešlo tak jsem si myslel jestli by nešlo vždy před wifi routr dát switch (aby se mi neměnila IP adresa)
Z MikroTiku mi jde IP adresa 192.168.5.1
Budu moc rád za jakoukoliv pomoc, děkuji.
Tiskárna -> https://multifunkcni-zarizeni.heureka.cz/epson-l365/
Switch -> https://switche.heureka.cz/d-link-go-sw ... c5EALw_wcB
Wifi Router1 -> https://access-pointy.heureka.cz/tp-lin ... gJEALw_wcB
Wifi Router2 ->teď nezjistím
Wifi Router3 ->https://access-pointy.heureka.cz/netis-wf-2419/

